管道電伴熱控制監測系統將廣泛應用在消防管道、泵體、閥門、槽池及罐體容器的伴熱、防凍和防凝等電伴熱系統中。另外在交通、石油、化工、電力、醫藥、機械、食品、船舶等領域中,都可發揮巨大的作用。可與現在的電伴熱系統實現了真正的智能調控。 真正做到了安全、節能、可靠等無人值守。
在原先溫控智能化的配電箱內部增加了智能溫控儀,是采用微電腦控制與熱電阻配套使用的新型溫控儀,多種參數可在面板鍵入,可實現位式控制、PID控制等多種控制規律,特別是采用了zj****自整定式控制方法,可在線對控制參數進行zj****自整定,控溫精度高,適用范圍廣,可用于我們公司生產的各種電伴熱需自動控制溫度的場合,相關就技術指標要求如下
技術指標:
配用傳感器分度號及zui大測量范圍:P t100 (-200~+600)℃、測量誤差:±1.0 % F·S±1b二檔 ;配熱電偶附加冷端補償誤差:≤±2℃
輸出類型:觸點開關式,電平式(控制固態繼電器,可控硅),無觸點開關式,
定時功能:0~9999分鐘(可選有或無)
通訊功能:RS485通訊(可選有或無)
工作電源:(187~242)VAC/(50±2)Hz,功耗<5W
工作環境:溫度(0~50)℃,相對濕度≤85%RH,無腐蝕性及無強電磁場輻射場合,如果有就做成防爆型電箱。
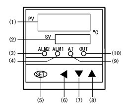
溫控面板說明:

(1)測量值顯示窗 (6)移位鍵(啟動/停止鍵)
(2)設定值顯示窗 (7)減數鍵
(3)報警2指示燈 (8)加數鍵(自整定鍵)
(4)報警1指示燈 (9)自整定指示燈
(5)設定鍵 (10)主控輸出指示燈
技術要求:
1.電伴熱材料的應用須***符合電氣規范要求
2.電伴熱防凍智能防凍控制技術要符合熱工設計
3.電伴熱控制和配電須有:溫度調節、漏電保護、接地保護、過流過壓保護
4.確保電伴熱冬季處于運行待命狀態、運行結束后確保系統運行關閉



